
FUSION
Fusion to 100-litrowy zbiornik warstwowy do kotłów dwufunkcyjnych, zapewniający szybki dostęp do ciepłej wody i mniejsze zużycie gazu. Izolacja PU ogranicza straty ciepła, emalia „na mokro” i anoda magnezowa chronią zbiornik, a wszystkie przyłącza w górnej dennicy ułatwiają montaż. Kompaktowa wysokość 90 cm pozwala na instalację pod kotłem.
Kluczowe cechy
- Oszczędność gazu - kocioł gazowy rzadziej się uruchamia.
- Wysoki komfort użytkowania - skrócony czas podgrzewania wody.
- Ekonomiczna praca układu - brak strat wody.
- Współpraca z dwufunkcyjnym kotłem gazowym.
- Maksymalne wykorzystanie warstwowego układania się wody.
- Wbudowana pompa obiegowa o regulowanej wydajności.
- Kompaktowe gabaryty - montaż zbiornika pod kotłem gazowym.
Szczegóły produktu
Komfort i oszczędność
Fusion to zbiornik warstwowy będący synonimem oszczędności i komfortu. Zaprojektowany został do współpracy z dwufunkcyjnymi kotłami gazowymi i wykorzystania naturalnych zalet warstwowego układania się podgrzewanej wody. Ciepła woda ogrzana w kotle gazowym gromadzi się najpierw w górnej części zbiornika skąd jest pobierana do instalacji c.w.u. Pozwala to pobierać ciepłą wodę bez częstego uruchamiania kotła gazowego. Takie rozwiązanie gwarantuje znaczne oszczędności gazu oraz wydłuża żywotność kotła. Znacznemu skróceniu ulega też czas oczekiwania na ciepłą wodę, w porównaniu z użytkowaniem samego kotła gazowego.
Sprawdzona konstrukcja
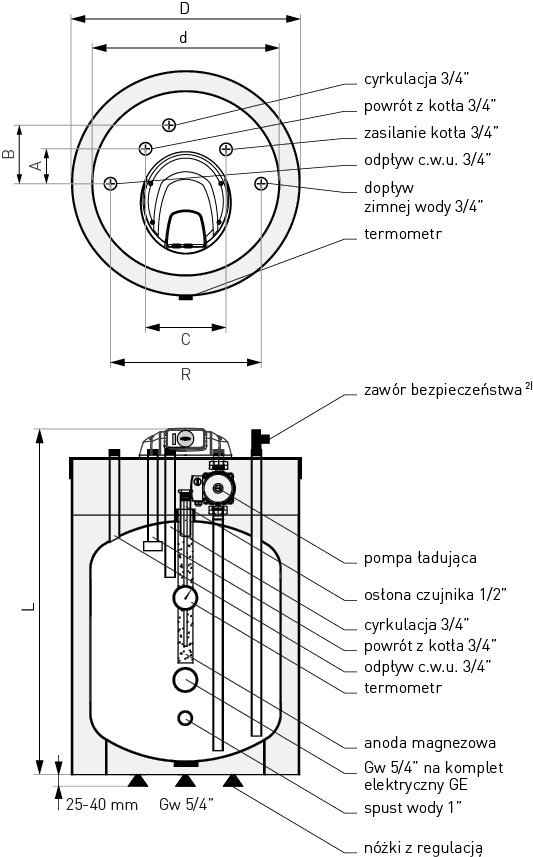
Zbiornik fusion pozwala na magazynowanie 100 litrów ciepłej wody użytkowej. Odpowiednio zaizolowany pianką poliuretanową zapewnia minimalne straty ciepła. Sprawdzona technologia produkcji zbiorników emaliowanych, firmy Galmet, gwarantuje długą żywotność zbiornika. Nakładana metodą „na mokro” emalia ceramiczna dokładnie wypełnia mikroszczeliny i zapewnia bezpieczne użytkowanie. Wymienna anoda magnezowa zapobiega korozji zbiornika i wydłuża jego trwałość. Za doprowadzenie zimnej wody do dolnej części zbiornika odpowiada trzystopniowa pompa obiegowa o regulowanej wydajności.
Wygodna eksploatacja
Dla ułatwienia montażu i eksploatacji, wszystkie przyłącza zbiornika ulokowane zostały w dennicy górnej. W niej też umieszczono włącznik i termostat zarządzający pracą systemu. Kompaktowy kształt i niewielka wysokość zbiornika, wynosząca tylko 90 cm, sprawiają, że bez problemu zmieści się pod zainstalowanym wcześniej kotłem gazowym. Regulowane nóżki poziomujące gwarantują pewne ułożenie zbiornika.



